| 免费服务热线 |
|
| 4006-099-066 |
|
电话:0510-83760999 |
|
传真:0510- 83621022 83762288 |
|
|
网址:http://www.wuxingp.com |
|
|
Email:ngp@wuxingp.com |
|
|
 |
|
 |
| 拆装 |
| |
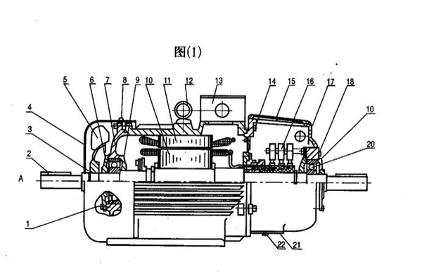
1、YZR电动机的拆卸方法参见图1所示。
2、取下轴伸平键(2)。
3、拧下风罩(4)的坚固螺钉(8),取下风罩。
4、从轴上拆除挡圈(3)取下风扇(5)。
5、拧下前轴承外盖(6) 的坚固螺栓(1)。
6、揭开视察窗的盖板(15),拧下螺栓(18),拆除电刷装置(16)。
7、拧一后端盖(17)(在图2中为(15)上的螺栓(14)。
8、用木榔头敲击轴头A使前轴承从轴承室中滑出。
9、在后端盖和机座离缝中用绳子将转子(10)从定子(11)中吊出来后装配时可参照上述步骤以相反次序进行。
10、YZ电动机的拆卸方法参见图2所示。
YZ电动机的拆卸方法除了没有第(5.1.5)项外,和YZR电动机的一样。
YZR电动机典型装配图
图(1)
表14
|
1
|
螺 栓
|
9
|
前轴承内盖
|
17
|
后端盖
|
|
2
|
平 键
|
10
|
转 子
|
18
|
螺 栓
|
|
3
|
挡 圈
|
11
|
定 子
|
19
|
后轴承外盖
|
|
4
|
风 罩
|
12
|
吊环螺钉
|
20
|
后轴承
|
|
5
|
风 扇
|
13
|
出线盒
|
21
|
排尘孔盖
|
|
6
|
前轴承外盖
|
14
|
螺 栓
|
22
|
螺 栓
|
|
7
|
前端盖
|
15
|
视察窗盖板
|
|
|
|
8
|
螺 钉
|
16
|
电刷装置
|
|
|
YZ电动机典型装配图

表15
|
1
|
螺 栓
|
7
|
前端盖
|
13
|
出线盒
|
|
2
|
平 键
|
8
|
螺 钉
|
14
|
螺 栓
|
|
3
|
挡 圈
|
9
|
前轴承内盖
|
15
|
后端盖
|
|
4
|
风 罩
|
10
|
转 子
|
16
|
后轴承外盖
|
|
5
|
风 扇
|
11
|
定 子
|
17
|
后轴承
|
|
6
|
前轴承外盖
|
12
|
吊环螺钉
|
|
|

|
|
|